硫磷伴生在鐵礦石中是對鐵礦比較有害的元素,而且選礦和冶煉脫除硫磷都比較困難,冶煉出來的鋼鐵中硫磷元素超過一定量,嚴重影響鋼鐵產品的機械性能,國內外的鐵礦選冶工作者一直在做鐵礦脫硫磷的研究工作:
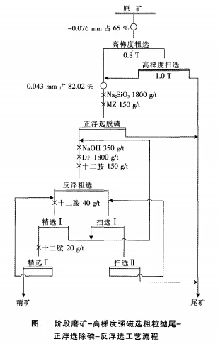
袁啟東等人對屬高磷難選赤褐鐵礦石的云南東川包子鋪鐵礦石進行了多方案實驗,在小型試驗研究的基礎上,采用階段磨礦-高梯度強磁選粗粒拋尾—正浮選除磷-反浮選得精礦工藝流程,如圖所示,結果獲得了鐵精礦鐵品位58.72%(燒后62.13%)、含磷0.397%,鐵回收率58.20%的選別指標。

彭會清等人對某鐵礦選礦廠所產含硫超過0.3%的鐵精礦進行了研究,表明該精礦中硫化物主要以磁黃鐵礦形式存在,硫化物多與鐵礦物連生且氧化程度較高,磨礦時容易泥化,通過再磨以及添加高效活化劑PL,采用復合捕收劑CZA+CZN等手段,通過一次粗選二次精選一次掃選閉路浮選,可成功脫除原鐵精礦中的硫化物,使鐵精礦品位達67.64%,硫含量降至0.078%。
轉載請注明來源:www.natives.cn